Главная ТО Мануал Тюнинг Двигатель Общий ремонт Электрика Барахолка Мы в VK Связь
Частые вопросы
Покрышки для GPZ400
Размеры резины
Регулировка клапанов
Процесс регулировки зазоров клапанов
Замена антифриза
Как произвести замену охлаждающей жидкости в мотоцикле GPZ400
Мы Вконтакте
{forumStyle}

Замена масла в мотоцикле kawasaki GPZ400

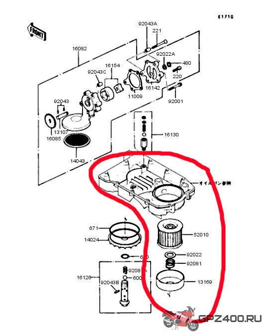
Масленый фильтр. Слив масла.

Масленый фильтр на GPZ400 находится под днищем. Закручивается в металлический стакан - на схеме номер 13169. Откручивается он ключом на 17.  Сделать четкое фото проблемно, но его легко заметить самому.

Замена масла в мотоцикле kawasaki GPZ400

Замена масла в мотоцикле kawasaki GPZ400

Сам слив масла производится из соседнего болта (~на 22)

 

 

Какие фильтры нужны на GPZ400 

Здесь указаны примеры фильтров. Можно подобрать подобные аналоги других брендов.


 Масляный фильтр - HIFLO FILTRO HF401  Воздушный фильтр для GPZ - Champion J305 
 

Замена масла в мотоцикле kawasaki GPZ400

 

Замена масла в мотоцикле kawasaki GPZ400


Какое масло для GPZ400

Объем необходимый для заливки ~ 3 литра. Масло подойдет Motul 5100 4Т 10W50.  Щупом служит окошко на правой стороне мотоцикла.

Замена масла в мотоцикле kawasaki GPZ400


 


Похожие новости:
Запущен сайт
Запущен сайт
  На данном сайте будет собрана информация по мотоциклу Kawasaki GPZ400r и ему подобным.Желающие помочь материалом будут выделены)
Замена антифриза
Замена антифриза
Как произвести замену охлаждающей жидкости в мотоцикле GPZ400
Замена тормозных колодок
Замена тормозных колодок
Какие колодки выбрать, порядок действий
Замена свечей в мотоцикле GPZ400
Замена свечей в мотоцикле GPZ400
Какой ключ, какие свечи

Добавить комментарий!

Информация
Посетители, находящиеся в группе , не могут оставлять комментарии к данной публикации.